Battlefield 2042 floppt – Etliche Spieler verlangen Geld zurück
Die aktuellen Zahlen rundum Battlefield 2042 verheißen ein mehr als nur vernichtendes Urteil. Liest man sich unsere hauseigene Review zum Game durch, ist klar zu erkennen, dass auch wir vom aktuellen Battlefield gelinde gesagt enttäuscht sind. Wie schlimm es momentan genau um EA’s Battlefield 2042 steht, erörtern wir für euch im Artikel.
Negativ-Rekord auf Steam
Weniger als 2000 Spieler daddeln zurzeit täglich den großen EA-Titel über die Steam-Plattform. Zum Vergleich: Nicht mal das 2009 erschienene und mittlerweile totgeglaubte Left 4 Dead 2 hat so eine niedrige tägliche Spieleranzahl.
Its official battlefield 2042 is under 2K players god damn it hurts and also some satisfaction to show EA/Dice look what you did BRUH from battlefield2042
Zum Release sah das noch komplett anders … … weiterlesen


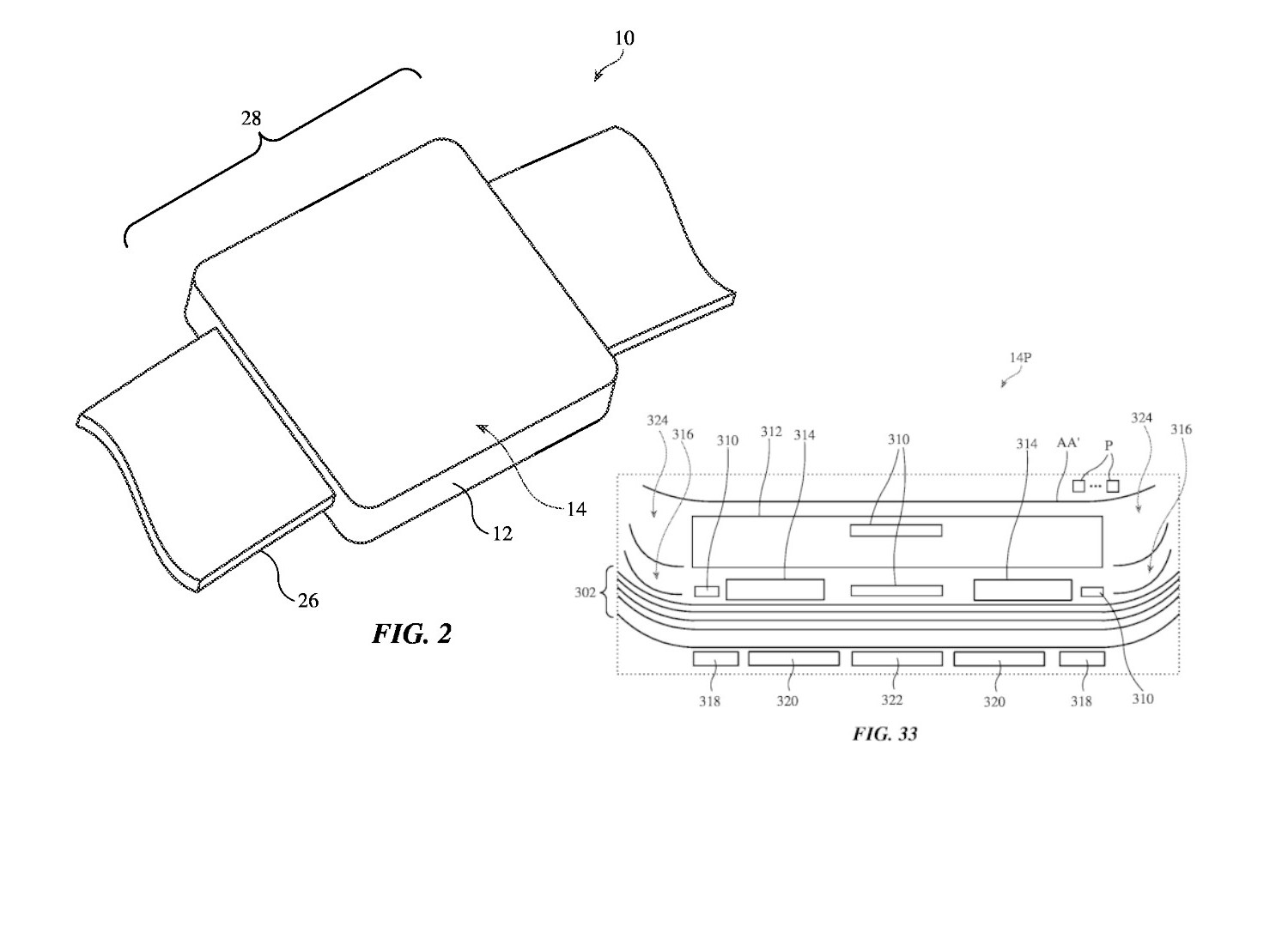
Verfolgt man ein wenig die Portale der globalen Patentämter, so stößt man durchaus das ein oder andere Mal auf wirklich sehr interessante Erfindungen und Anmeldungen. So ist vor kurzem wieder ein interessantes Patent von Apple aufgetaucht, das randlose Displays für alle gängigen Apple Produkte ermöglichen könnte.
Sowohl die Spezifikationen der Intel NUC 12 Extreme-Mini-PCs als auch die Preise zumindest eines Händlers sind durchgesickert. Die Systeme können auch eine dedizierte Grafikkarte aufnehmen.
Huawei bringt das MateBook D 15 in einer neuen, leistungsstarken Version mit einem Ryzen 5000-Prozessor auf den Markt. Die Vorbestellungen sollen ab dem 27. Februar entgegengenommen werden.



Die Realme GT Neo 2 ist gerade zu einem absoluten Spitzenpreis erhältlich – dazu legt der Händler noch eine Realme Watch 2 Pro-Smartwatch drauf. Günstiger waren die beiden Geräte noch nie zu haben.



Jeder kennt die Kultfilm-Reihe Zurück in die Zukunft, die im Jahr 1985 begann und das Science-Fiction-Genre bereichert hat. Viele fiktive Ideen der damaligen Zeit fanden ihre Verwirklichung in dieser Filmreihe auf der Kinoleinwand. Die Idee des fliegenden Autos hat die Filmreihe wohl am meisten geprägt und zukünftige Ingenieure inspiriert. Knapp 37 Jahre später gibt es zwar noch immer keinen fliegenden DeLorean, aber ein neues, voll elektrisches Modell wurde nun angeteasert.
Das 12 Pro ist das Spitzen-Smartphone von Xiaomi zum Jahresstart 2022 und kommt nicht nur mit dem neuesten Snapdragon-SoC, sondern offeriert auch ein topmodernes Display, lange Akkulaufzeiten und eine Triple-Kamera, welche diese Bezeichnung verdient. Doch lohnt sich ein Import?
According to a source at Microsoft, Windows 12 is already under development and it’s going to require two TPMs.
Eine leicht ironische Sonntagsnews für alle Xiaomi-Fans und jene, die es noch werden wollen: Dass Xiaomi mehr als Smartphones und Wearables produziert, wird wohl vielen bewusst sein doch Klopapier? Ja, auch das gehört zum Portfolio des China-Riesen und man kann es zeitweise sogar bei einem großen Händler aus China bestellen. Ein ironisches Geschenk für Xiaomi-Fans?
Das Sony Xperia Pro-I besticht durch seine umfangreiche Kamerasoftware gepaart mit optionalen Vlogging-Zubehör. Allerdings ist die Kameraqualität des Sony-Handys nicht über jeden Zweifel erhaben …
MSI stattet die aktuelle GS66-Generation nicht nur mit einer brandneuen Alder-Lake-CPU, sondern auch mit einer geupdateten Ampere-GPU aus. Schon die GeForce RTX 3070 Ti der Basisvariante 12UGS verspricht genug Leistung für das QHD-Display.
Anders als der normale Roam hat das SL-Modell des Sonos-Lautsprechers keine Funktionen für eine Sprachsteuerung. (



Einen cineastischen Leckerbissen kann man sich dieses Wochenende einverleiben, denn der für Filme wie „Oldboy“ ausgezeichnete Regisseur Park Chan-wook hat sich im Rahmen der „Shot on iPhone“ Kampagne exklusiv auf Apples iPhone 13 Pro beschränkt, um eine 21-minütige Ghoststory zu erzählen. Prädikat sehenswert!
Trotz Warteschlangen und Gender Lock ist Lost Ark in Europa beliebt. Dabei hat es diese Art von Spiel mit Grind hierzulande nicht leicht. Ein Test von Oliver Nickel (


2026